Fiche_toilette adaptée

Toilette adaptée
Lorsqu’un espace sanitaire est prévu, au moins une des toilettes doit être accessible aux personnes en fauteuil roulant. Elle doit être clairement identifiée et rester ouverte en permanence. Son usage n’est pas exclusivement réservé aux personnes en situation de handicap.
Identification de la toilette adaptée
- Là où des signalisations sont prévues pour annoncer les toilettes « ordinaires », des indications claires sont également prévues pour orienter les visiteurs en fauteuil roulant vers les toilettes PMR.
Sur la porte de la toilette PMR, un logo « chaise roulante » doit être apposé.
Dimension
- dimension minimale : 150 * 150 cm.
Dans ce cas de figure, le lavabo doit être placé à l’extérieur de la pièce.
Seul un lave-main est toléré. - aire de transfert située face à la porte. Elle doit être d’au moins 110 cm. Cette mesure se prend depuis l’axe de la cuvette. Elle a une profondeur de 130 cm. Les aires de transfert et de rotation peuvent se chevaucher.
- la cuvette est suspendue et a le bord supérieur de la planche à 50 cm du sol.
Porte
- L’ouverture de la porte doit se faire vers l’extérieur.
- Le passage libre de la porte doit être de 85 cm
- La hauteur de passage libre : min 201 cm ;
- Le passage de plain-pied ;
- La présence d’une aire de rotation devant et derrière la porte de 150 cm ;
- La poignée ou dispositif d’ouverture situé a une hauteur comprise entre 80 et 85 cm du sol et a 50 cm d’un angle rentrant ;
- la porte doit pouvoir être déverrouillée depuis l’extérieur ;
- la porte doit pouvoir être verrouillée avec un verrou préhensile.
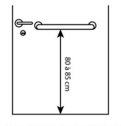
Mettre une lisse sur la porte
- La porte doit être équipée sur toute la largeur de sa face interne, d'une lisse placée à une hauteur comprise entre 80 et 85 cm.
Placer les barres d’appui :
Les barres d’appui doivent être :
- Rabattables indépendamment l’une de l’autre. Du côté du mur, elle peut être fixe
- Situées à 35 cm de l’axe de la cuvette
- Longueur de minimum 80 cm
- Placées à 80 cm du sol
Le lavabo
- Bord supérieur 80 cm : dégagé en dessous
- Profondeur : 60 cm
- Desservi par une aire de rotation
Placer un miroir
- Partie inférieure à 90 cm du sol
- Hauteur de 90 cm minimum
A noter : Pour être conforme, une toilette adaptée doit permettre l’accès au lavabo depuis une aire de rotation d’un diamètre minimal de 150 cm. L’implantation de celui-ci ne peut en aucun cas entraver l’accès à la cuvette ni à l’aire de transfert. Par ailleurs, la toilette doit présenter des dimensions minimales de 180 cm sur 200 cm.
Exemple de toilettes adaptées :
Besoin d'aide ?
Des solutions concrètes pour votre établissement
Accessandgo-ABP vous propose un accompagnement personnalisé et des explications claires. De l'audit initial à la mise en œuvre des aménagements, nous sommes votre partenaire privilégié pour des solutions pratiques et conformes.
Prêt à agir pour l'accessibilité ?
La première étape vers un établissement entièrement accessible est simple. Contactez nos experts pour un audit personnalisé et un devis adapté à vos besoins spécifiques. Votre engagement est notre priorité.