Fiche_douche

Douche
Lorsqu’une douche est prévue, au moins un espace doit être accessible aux personnes en fauteuil roulant. Elle doit être clairement identifiée et rester disponible en permanence. Son utilisation n’est pas exclusivement réservée aux personnes en situation de handicap.
Dimension
- la pièce de douche doit offrir un espace de rotation d’au moins 1,50 m de diamètre, sans tenir compte de l’emprise de l’ouverture de la porte
Porte
- L’ouverture de la porte doit se faire vers l’extérieur.
- Le passage libre de la porte doit être de 85 cm
- La hauteur de passage libre : min 201 cm ;
- Le passage de plain-pied ;
- La présence d’une aire de rotation devant et derrière la porte de 150 cm ;
- La poignée ou dispositif d’ouverture situé a une hauteur comprise entre 80 et 85 cm du sol et a 50 cm d’un angle rentrant ;
- la porte doit pouvoir être déverrouillée depuis l’extérieur ;
- la porte doit pouvoir être verrouillée avec un verrou préhensile.
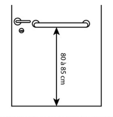
Mettre une lisse sur la porte
- La porte doit être équipée sur toute la largeur de sa face interne, d'une lisse placée à une hauteur comprise entre 80 et 85 cm.
Siège de douche
- Un siège rabattable doit être fabriqué dans un matériau antidérapant et favorisant l’écoulement de l’eau, doit être fixé à 50 cm du sol. Il doit présenter des dimensions minimales de 40 cm de profondeur et 40 cm de largeur.
- L'aire de transfert doit être d’au moins 110 cm. Cette mesure se prend depuis l’axe du siège de douche. Elle a une profondeur de 130 cm. Les aires de transfert et de rotation peuvent se chevaucher.
Placer les barres d’appui :
Les barres d’appui doivent être :
- Rabattables indépendamment l’une de l’autre.
Du côté du mur, elle peut être fixe - Situées à 35 cm de l’axe du siège de douche
- Longueur de minimum 90 cm en région wallonne
- Longueur de minimum 80 cm en région bruxelloise
- Placées à 80 cm du sol
Evacuation des eaux
- Le sol doit présenter une pente légère permettant l’évacuation des eaux sans nécessiter l’installation d’un bac de douche ;
En région wallonne
- Lorsque des douches sont accessibles au public, au minimum une cabine de douche adaptée doit être prévue, ainsi qu’une cabine supplémentaire pour chaque tranche de 50 cabines supplémentaires. Ces cabines doivent respecter les conditions suivantes :
En région Bruxelloise
- Lorsque des douches sont accessibles au public, au minimum une cabine de douche adaptée doit être prévue, ainsi qu’une cabine supplémentaire pour chaque tranche de 20 cabines supplémentaires. Ces cabines doivent respecter les conditions suivantes :
Besoin d'aide ?
Des solutions concrètes pour votre établissement
Accessandgo-ABP vous propose un accompagnement personnalisé et des explications claires. De l'audit initial à la mise en œuvre des aménagements, nous sommes votre partenaire privilégié pour des solutions pratiques et conformes.
Prêt à agir pour l'accessibilité ?
La première étape vers un établissement entièrement accessible est simple. Contactez nos experts pour un audit personnalisé et un devis adapté à vos besoins spécifiques. Votre engagement est notre priorité.